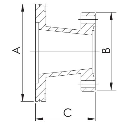
CF转ISO锥形法兰

真空范围

           氟橡胶密封: 1x10-8

温度范围

           氟橡胶密封: -20°C~200°C

尺寸范围

           法兰尺寸:   KF10-KF50

           VCR 尺寸:   1/4"-1"

材    质             

            法 兰: SUS304

增值服务

           接受非标定制服务

           标准产品可免费提供2D/3D模型方便客户设计建模

  • Size parameters
  • Product Features

真空腔室经常需要特殊的配件才能将其他设备引入真空。由于两个端口的配合法兰的几何形状不同,因此必须使用包含两个不同接头的混合适配器。

迈格诺科转接法兰是提供从一种密封方式过渡到另一种密封方式的有效解决方案。这适配器转接法兰不是在特定的密封方法中改变尺寸,转接法兰的混合功能是指组件两端的接头形式不同,从而需要混合适配解决方案。为了最大程度地减小这种过渡配件对流导的影响,混合适配器的设计长度应尽可能短,内径应尽可能大。

       请注意,混合适配器不用于更改一个法兰系列中的尺寸。用于连接同一真空法兰系列中的两个不同尺寸的法兰的配件称为异径管配件或变径接头。